Toronto Liquidation Center - March 5, 2018 - North American Online Retailer Clearance of Home, Décor, Kitchen Cabinet Sets & Yard Clearance Auction - up to 85% Off Retail List
Over 2000 Lots!
Joining ClubBid is FREE. Membership gives you access to bid at all ClubBid Auctions.
All items in this sale are located at ClubBid’s TORONTO LIQUIDATION CENTER: 6225 Kennedy Rd, Mississauga, ON.
This auction consists of "as new" items but which may be returns or factory seconds from a major North American Online Retailer. Read all conditions on left sidebar for this auction.
This Auction is subject to “Extended/Soft” Closing Times: Any bid arriving within the last 1 minute of the item’s closing time, extends the time that item is open by 1 minute.
Note: HST is extra in all cases.
Tips to Use the ClubBid System:
Set a Max Bid for any item and don’t worry about monitoring the item constantly. Your Max Bid is invisible to all other bidders and the current high bid does not rise unless another bidder triggers an increase by bidding against you. You can increase or decrease your Max Bid at any time by simply typing a different number as your Bid.
My Favorites: Select Star (top right corner of each item box) on any Item to save it to My Favorites. Bidding on an item also automatically saves items to My Favorites. This allows you to focus only on the items of most interest to you.
Use “Category” Filter (upper left corner of auction listing page) to see sub-categories of items.
Use “Search” filter to find similar items from descriptions.
LaCozee Box Cushion Loveseat Slipcover - Burgundy(LZQ1090_13491420)
Kennedy International Bath Bliss Shower Curtain Hooks (KENI1610_16516201)
Red Barrel Studio Box Cushion Sofa Slipcover (RDBT7065_24263166)
idh by St. Simons 13 in x 4 in Brass Mail Slot (IDHS1017_17589057)
Charlton Home Clara Clark 1800 Thread Count Sheet Set - King - Cream(CHLH3351_16395989_16396011)
Charlton Home Clara Clark 1800 Thread Count Sheet Set - King - Grey(CHLH3351_16395989_16396011)
Charlton Home Clara Clark 1800 Thread Count Sheet Set - Queen - Camel(CHLH3351_16395989_16396011)
Charlton Home Clara Clark 1800 Thread Count Sheet Set - King - White(CHLH3351_16395989_16396011)
Charlton Home Clara Clark 1800 Thread Count Sheet Set - King - Red(CHLH3351_16395989_16396011)
Charlton Home Clara Clark 1800 Thread Count Sheet Set - Queen - Navy(CHLH3351_16395989_16396011)
Blissliving Home Kaleah Duvet Set - Queen - Floral(BLL2857_19147525)
Darby Home Co Prower Nature/Floral Blackout Grommet Curtain Panels (DBYH4495_24136666_20584706)
Red Barrel Studio Columbard Print Geometric Semi-Sheer Grommet Single Curtain Panel - Grey(RDBL4759_21300947_21300954)
Zipcode Design Zephyrine Damask Semi-Sheer Rod pocket and Tab top Curtain Panels (ZPCD5720_24428944_24428945)
Wayfair Basics Wayfair Basics Solid Sheer Rod Pocket Curtain Panels - Purple(WFBS1832_23714577_23714572)
Highland Dunes Champlain Heavy Textured Polyester Woven Solid Blackout Grommet Curtain Panels (HLDS3337_22793808_22793806)
Wade Logan Mika Brown/Beige Area Rug 4' Round(WADL9696_19276364)
Three Posts Brownville Gray Area Rug 2'3" x 7'7"(THRE1514_14639665)
The Conestoga Trading Co. Gray/Purple Elephant and Bird Area Rug 2'8" x 4'8"(CNTC4525)
Mistana Newburyport Area Rug 2'2" x 8'(MTNA3396_22734835)
DwellStudio Hallein Rug in Espresso 2' x 3' (DWL4629_10282629)
Colonial Mills Natural Wool Houndstooth Braided Caramel Area Rug - 3' x 5'(CV10162_7163447)
Charlton Home Cranmore Hand-Tufted Blue/Brown Area Rug - 2'3" x 4'(CHLH6073_19260490)
Charlton Home Willard Navy & Olive Area Rug - 2'6" x 8'(CHLH1311_14908936)
Charlton Home Cranmore Green/Taupe Area Rug - 36" RoundCHLH6092_19260819
Beachcrest Home Monadnock Marble / Linen Area Rug - 2'6" x 16'(BCHH6448_22408969)
August Grove Isabella Ivory/Red Area Rug 2'9" x 4'9"(AGGR3797_21460046)
Andover Mills Smithtown Latte Area Rug 2'3" x 8'(ANDO4889-19341275)
Mistana Hillsby Orange/Blue Area Rug 2' x3'(MTNA2928_22618378)
East Urban Home 'Mandala 17' Graphic Art Print (EAUU8765_21033562)
East Urban Home Coastal Raindrops Graphic Art (EUNH5046_19603102)
East Urban Home Watercolor Dots by Skye Zambrana Bath Mat (EHME3961)
TransGlobe Lighting 7 - Light Empire Chandelier (TGL4702)
Three Posts Fuhrmann 1-Light Inverted Pendant - Bronze(TRPT3981_24121738)
Tommy Hilfiger 200 Thread Count 100% Cottton Comforter - King(QO1385_14617697)
Charlton Home Chalet 64 Floor Lamp - Clear & Brushed Nickel(CHRL3958)
Willa Arlo Interiors Caravilla Side Chair - Grey(WRLO6239_22797610)
Highland Dunes Borchardt Glass 24 Table Lamp - Blue(HLDS1233)
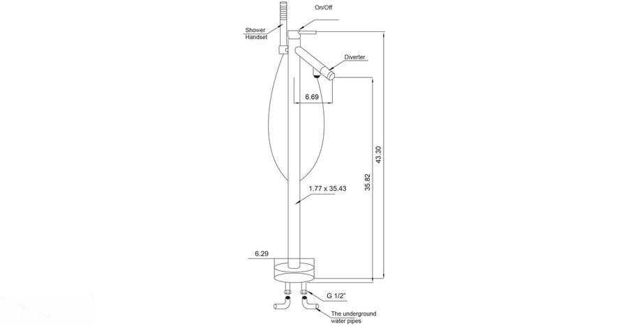
Kardiel HelixBath Dettifoss Single Handle Floor Mount Freestanding Tub Filler (KRDI1236)
Willa Arlo Interiors Erling Velvet Counter 26 Bar Stool - Navy(WLAO2068_22858901)
Beachcrest Home Delaine 24 Bar Stool (BCHH8983_23573186)
Viv + Rae Cindy Panel Bedframe - Pink(VVRE3965_24226437_24226435)
Beachcrest Home Pinellas 5 Drawer Chest (SEHO6945_18820247)
Rebrilliant Mobile 18-Pair Shoe Storage Cabinet (REBR1705)
Great Big Canvas 'A Flock of Many Colors' by Jennifer Lommers Painting Print on Canvas 30" x 15" (GBCN4031_16782063)
Zipcode Design Liam Barrel Chair - Indigo(ZIPC2013_24337468)
A max bid would make it more difficult for others to outbid you.
A max bid is the highest amount you are willing to pay for an auction item.
In response to other bids, the auction system will automatically increase your bid in the smallest increment possible (up to your max bid amount) in order to maintain your lead position.
To get a max bid you simply enter the maximum amount you are willing to pay into the bid form just as you would any other bid. If your bid is more than one bidding increment above the current high bid you will get a max bid unless another bidder has a max bid in place that is higher than the amount you enter.
At the end of the auction, the winning bidder pays only the lowest winning bid possible. That means that you can win an auction item at a price less than your max bid amount.
Your max bid amount is kept confidential from other bidders.
You can lower or delete a max bid by entering a lower amount.
Note: After watching hundreds of auctions and talking to thousands of bidders, we think using max bids in your bidding strategy works best for most people. It eliminates some of the pressure and reduces the risk of "sniping", where other bidders slip in slightly higher bids in the last seconds of bidding.
You now have a max bid.
You can raise or lower your max bid at any time by entering a new amount.
If you wish to remove your max bid you can do so by entering an amount equal to the current bid into the bid form.
You can adjust this max bid by using the form above.
If you want to remove your max bid click here.
You can enter the minimum bid of %s or a greater amount.
If you bid more than the minimum bid you will get a max bid that the system will use to bid for you against other bidders, up to the amount you enter. So if you enter a bid of %s for this item, the system will place bids on your behalf in response to bids from other users until someone bids more than %s.
| Low | High | Increment |
|---|---|---|
| $0.00 | $10.00 | $0.50 |
| $10.01 | $100.00 | $1.00 |
| $100.01 | $250.00 | $5.00 |
| $250.01 | $1,000.00 | $10.00 |
| $1,000.01 | $2,500.00 | $25.00 |
| $2,500.01 | $5,000.00 | $50.00 |
| $5,000.01 | $100,000,000.00 | $100.00 |
| Low | High | Increment |
|---|---|---|
| $0.00 | $24.99 | $1.00 |
| $25.00 | $100.00 | $5.00 |
| $100.01 | $1,000.00 | $10.00 |
| $1,000.01 | $5,000.00 | $50.00 |
| $5,000.01 | $50,000.00 | $100.00 |
| $50,000.01 | $250,000.00 | $500.00 |
| $250,000.01 | $1,000,000.00 | $1,000.00 |
| Low | High | Increment |
|---|---|---|
| $0.00 | $10.00 | $2.00 |
| $10.01 | $100.00 | $5.00 |
| $100.01 | $500.00 | $10.00 |
| $500.01 | $1,000.00 | $25.00 |
| $1,000.01 | $5,000.00 | $50.00 |
| $5,000.01 | $10,000.00 | $100.00 |
| $10,000.01 | $100,000,000.00 | $250.00 |
| Low | High | Increment |
|---|---|---|
| $0.00 | $10.00 | $0.50 |
| $10.01 | $100.00 | $5.00 |
| $100.01 | $500.00 | $10.00 |
| $500.01 | $1,000.00 | $25.00 |
| $1,000.01 | $5,000.00 | $50.00 |
| $5,000.01 | $10,000.00 | $100.00 |
| $10,000.01 | $100,000,000.00 | $250.00 |
| Low | High | Increment |
|---|---|---|
| $0.00 | $10.00 | $0.50 |
| $10.01 | $100.00 | $1.00 |
| $100.01 | $500.00 | $10.00 |
| $500.01 | $1,000.00 | $25.00 |
| $1,000.01 | $5,000.00 | $50.00 |
| $5,000.01 | $10,000.00 | $100.00 |
| $10,000.01 | $1,000,000.00 | $250.00 |
| Low | High | Increment |
|---|---|---|
| $0.00 | $10.00 | $0.50 |
| $10.01 | $100.00 | $1.00 |
| $100.01 | $500.00 | $5.00 |
| $500.01 | $1,000.00 | $10.00 |
| $1,000.01 | $2,500.00 | $25.00 |
| $2,500.01 | $5,000.00 | $50.00 |
| $5,000.01 | $100,000.00 | $100.00 |
| $100,000.01 | $100,000,000,000.00 | $500.00 |
| Low | High | Increment |
|---|---|---|
| $0.00 | $50,000.00 | $500.00 |
| $50,000.01 | $100,000.00 | $1,000.00 |
| $100,000.01 | $250,000.00 | $2,500.00 |
| $250,000.01 | $1,000,000.00 | $10,000.00 |
| Low | High | Increment |
|---|---|---|
| $0.00 | $500,000.00 | $500.00 |
| $500,000.01 | $2,500,000.00 | $1,000.00 |
| Low | High | Increment |
|---|---|---|
| $0.00 | $5,000,000.00 | $10,000.00 |
| Low | High | Increment |
|---|---|---|
| $0.00 | $500.00 | $5.00 |
| $500.01 | $1,000.00 | $10.00 |
| $1,000.01 | $2,500.00 | $25.00 |
| $2,500.01 | $5,000.00 | $50.00 |
| $5,000.01 | $10,000.00 | $100.00 |
| $10,000.01 | $100,000.00 | $250.00 |
| $100,000.01 | $150,000.00 | $500.00 |
| $150,000.01 | $500,000.00 | $1,000.00 |
| $500,000.01 | $1,000,000.00 | $2,500.00 |
| Extended Bidding: | i |
| Extended Bidding: | i |
| Extended Bidding: | i |
| Extended Bidding: | i |
| Extended Bidding: | i |
| Extended Bidding: | i |
| Extended Bidding: | i |
| Extended Bidding: | i |
| Extended Bidding: | i |
| Extended Bidding: | i |
| Extended Bidding: | i |
| Extended Bidding: | i |
| Extended Bidding: | i |
| Extended Bidding: | i |
| Extended Bidding: | i |
| Extended Bidding: | i |
| Extended Bidding: | i |
| Extended Bidding: | i |
| Extended Bidding: | i |
| Extended Bidding: | i |
| Extended Bidding: | i |
| Extended Bidding: | i |
| Extended Bidding: | i |
| Extended Bidding: | i |
| Extended Bidding: | i |
| Extended Bidding: | i |
| Extended Bidding: | i |
| Extended Bidding: | i |
| Extended Bidding: | i |
| Extended Bidding: | i |
| Extended Bidding: | i |
| Extended Bidding: | i |
| Extended Bidding: | i |
| Extended Bidding: | i |
| Extended Bidding: | i |
| Extended Bidding: | i |
| Extended Bidding: | i |
| Extended Bidding: | i |
| Extended Bidding: | i |
| Extended Bidding: | i |
| Extended Bidding: | i |

GlideRite Hardware Mushroom Knob (GLRT1011_13240755)
Brayden Studio Reversed Criss Cross Shelf (BRSD5391)
East Urban Home 1x Pearls Shower Curtain (URBR5246)
August Grove Sally 24 Bar Stool (ATGR4874)
Bay Isle Home Schall Upholstered Bench (BAYI8455)
Lark Manor Erondelle Parsons Chair (LRKM3383)
Three Posts Bijou Square Panel Wall Decor (THRE4511)
Muskoka Wall Mount Electric Fireplace (MUK1056)
Stein World Lara 31.75 Table Lamp (SM7061)
Elk Pendant light fixture Qty 2
Kichler Natural Brass Wall Sconce
Kichler Natural Brass Wall Sconce
Small fabric table lamp
lucid lighting antique gold hanging pendant light
Hanging brass pendant
Lot 4 Madison Park window panels- Dk Grey
Lot Asstd window panels
Madison PArk 7 pc King Comforter set
Avondale Manor 7pc Comforter Queen Set - White
Avondale Manor 7pc King Comforter set - Dk Teal Stripe
Mizone Queen Comforter set 4pc
Threeposts Comforter set - King
Caribbean Joe Down Alternative King Comforter set - Teal
Bainbridge Floral 8pc Comforter Set - Grey - Queen
Avondale Manor 7pc Comforter Set - Queen Dk Teal
Patterned Comforter Sham
Mizone Queen 4pc comforter Set
Intelligent design - King Comforter Mini set
Lush Decor Queen Comforter Set - Patterned
Harbour House Queen Floral Comforter Set 6pc
City Scene Queen Comforter Set
Madison Park King Comforter Set - White
Richmond House Down Alternative Queen Comforter Set
Chic Home Designs Queen Set - Queen
Lucena 4 pc Reversible Quilt Set - King
Luxury Quilt Set - Double - Queen
Luxury Quilt Set - 3 pc - Patterned - Queen
Luxury Quilt Set - Queen
South Shore - CAlifornia King 3pc Quilt
Avondale Manor 8 Pc Duvet Set -King
MI-Zone Twin Duvet Cover Set
Luxury Quilt Set - Queen
